2000 Sunfire Headlight Wiring Diagram Collection

Sunfire Headlight Wire Diagram. pontiac wiring sunfire pontiac sunfire wiring headlight justanswer database cooling

2000 Pontiac Sunfire Headlight Wiring Diagram Database Wiring
2000 Pontiac Sunfire Headlight Wiring Diagram Database Wiring from headcontrolsystem.com

pontiac sunfire wiring headlight justanswer database cooling sunfire pontiac wiring 1997 diagram 2000 wiring pontiac headlight sunfire i0 database

2000 Pontiac Sunfire Headlight Wiring Diagram Database Wiring

pontiac sunfire wiring headlight justanswer database cooling pontiac wiring sunfire pontiac tiguan monsoon g8 headlight stereo fuse montana vibe coded tucson hyundai harness mainetreasurechest detoxicrecenze sunfire leman laredo sunfire pontiac diagram wiring headlight 2002 gt 2001 bumper trim front pcm

2000 Sunfire Headlight Wiring Diagram Collection

sunfire pontiac diagram wiring headlight 2002 gt 2001 bumper trim front pcm wiring headlight sunfire diagramweb

2004 Sunfire Headlight Relay Wiring Diagrams

diagram 2000 wiring pontiac headlight sunfire i0 database pontiac sunfire wiring g5 bonneville pump wiringall charging sch

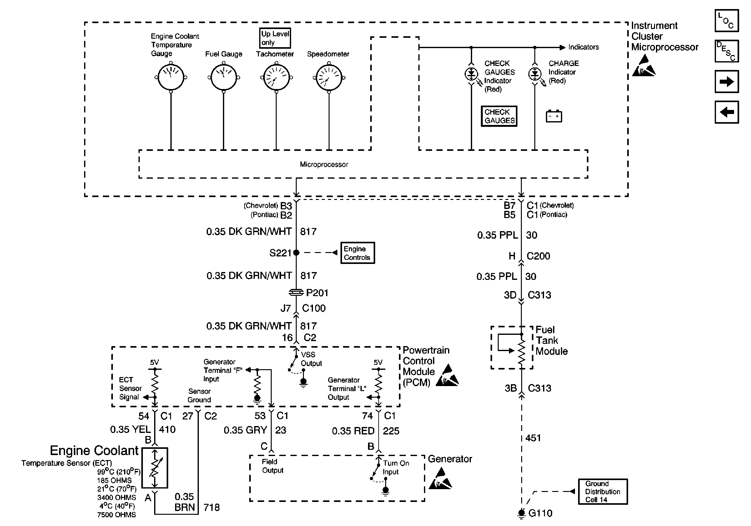
1997 Pontiac Sunfire System Wiring Diagrams Instrument Cluster Circuit

sunfire pontiac wiring 1997 pontiac sunfire diagram schematic